Set 302

Euroconus

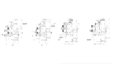
Technische specificaties

    • 3/4” Euroconus buitendraad
    • tweepijp
    • Kv-waarde: 0.8 - 2.5 m³/u
    • Volledig afsluitbaar
    • Getest conform EN 215

Afmetingen

Bestelcodes

Retourventielen en klemkoppelingen zijn inbegrepen in de prijs.

 
CODY.LO5.00.4

Code klemkoppeling invullen.

Thermostaatkoppen

23
230 VAC
24
24

JAGA ADAPTOR VOOR THERMOSTAATKOPPEN BIJ HYBRIDE INSTALLATIES

Ideaal voor het ombouwen van traditionele installatie naar hybride installatie (verwarming/koeling)

Adapter voor het ombouwen van thermostaatventielen met thermostaatkop, om te voorkomen dat koudwatertoevoer in de zomer door de thermostaatkop afgesneden wordt.

Bestelcode
5090 1114

 

Jaga Adaptor

Drukverliezen

Op basis van het benodigde waterdebiet (kg/u) en beschikbaar drukverschil (bar) over het ventiel (Δp) kun je de juiste voorinstelling bepalen. De juiste instelling van de insert zorgt ervoor dat elk Jaga product precies het benodigde debiet krijgt, zodat de installatie hydraulisch in balans is en correct, stil en energiezuinig werkt.
Zie onderstaand document vanaf pagina 48 voor de drukverliezen.

Bekijk de drukverliezen hier